旭峰官方網站m.tgyr.com.cn遭到DDOS攻擊
旭峰官方網站m.tgyr.com.cn遭到DDOS攻擊
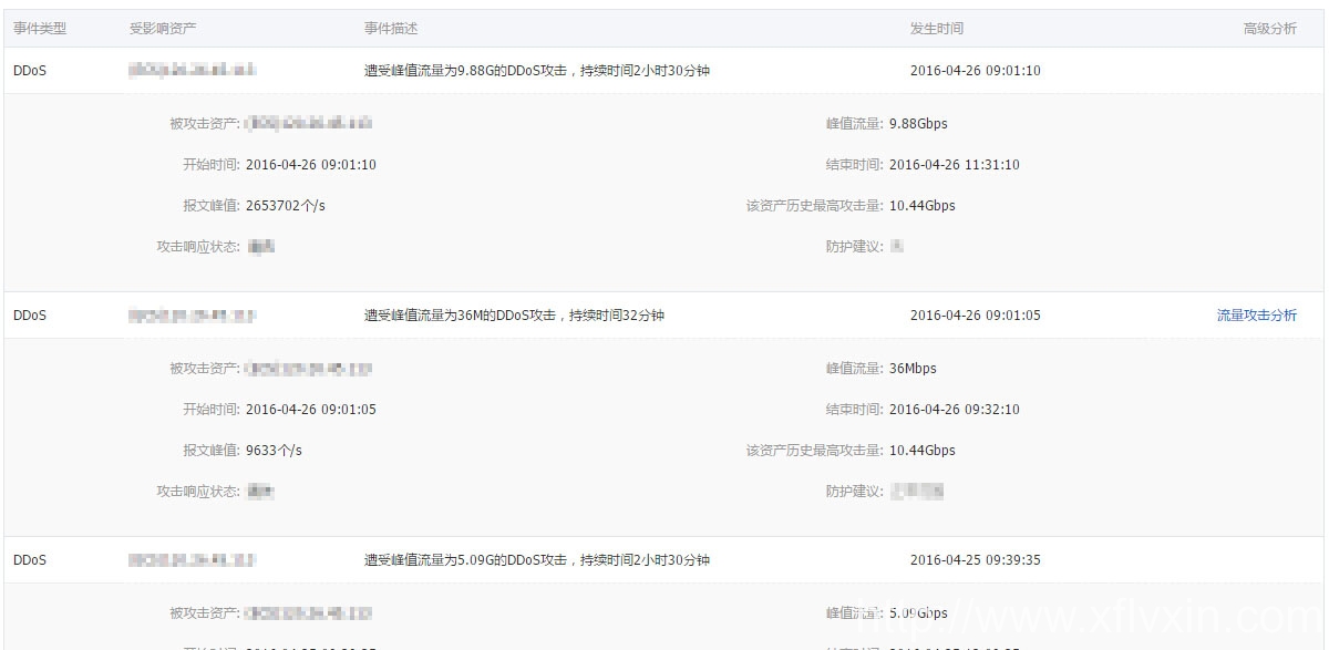
在2016-04-18日開始旭峰官方網站m.tgyr.com.cn遭到較小規模DDOS以及CC的輪番組合攻擊,有斷續影響用戶體驗度的情況發生,也有重啟服務器的現象。

雖然攻擊者對我們的攻擊沒有造成任意損失,但是其行為影響了客戶的體驗度旭峰將會按照法律程序維護我們的權利。
旭峰一致力于發展網絡宣傳以及普及過濾知識,讓每一個客戶了解產品購買合理的產品一直以來都是我們為之奮斗的目標。
對于那些擾亂網絡秩序,惡意攻擊行為旭峰對此表示相對遺憾。
如果您發現旭峰的網站打開有一些慢或者打開時候麻煩您抗心等一下,或者過段時間在登錄……



